Новая архитектура » Основы инженерных изысканий для строительства » Опытные полевые работы

Опытные полевые работы

Страница 2

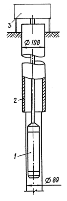
Рис. 2.8 Схема прессиометра

1 – зонд; 2 – обсадная труба; 3 – измерительная аппаратура.

И с п ы т а н и я г р у н т а н а с д в и г имеют особое значение для мест, на которых проектируется строительство сооружений, обладающих в определенной степени тенденцией к сдвигу, например мостов, плотин. Однако испытания на сдвиг могут производиться просто для получения более полной прочностной характеристики неоднородных по составу грунтов, испытания которых в лабораторных условиях не дают удовлетворительных результатов (содержание неоднородных включений).

Испытание пород на сдвиг может вестись в шурфах и скважинах. Существует четыре метода испытаний в шурфах: раздавливание четырехгранной призмы или цилиндра грунта вертикальной нагрузкой, сдвиг целика по заранее намечаемой горизонтальной плоскости, выпирание треугольной призмы в сторону, обрушение треугольной призмы вниз (рис. 2.9, а, б, в). Зная разрушающее усилие и площадь поверхности сдвига, рассчитывают прочность грунта.

Испытания грунта на сдвиг могут вестись и в скважинах лопастными приборами – крыльчатками (рис. 2.10). Для этого двух- или четырех-лопастная крыльчатка 1, закрепленная на штанге 2, вдавливается в забой скважины ниже обреза обсадных труб 3. Вверху вращением сердечника штанг распорными пластинами крыльчатки создается боковое давление на грунт и затем крыльчатка поворачивается.

Этот метод испытания основан на измерении предельного крутящего момента, при котором начинается сдвиг (вращение) лопастей крыльчатки. Сопротивление же сдвигу зависит от свойства грунта и размеров лопастей крыльчатки. Измерив сопротивление сдвигу при разных давлениях к поверхности среза и зная размеры крыльчатки, можно вычислить показатели прочностных свойств

грунтов.

Такие испытания для одного слоя породы повторяют в одной скважине несколько раз, постепенно углубляя скважину.

Испытания грунта лопастными приборами можно вести до глубины 15–20 м. Лопастные приборы позволяют косвенно определить и модуль деформации грунта.

Д и н а м и ч е с к о е з о н д и р о в а н и е заключается в определении сопротивления которое оказывает грунт забивке в него штанги с навинченным на нее специальным стальным наконечником – зондом в виде конуса, имеющего диаметр до 74 мм и угол при вершине 60°. Забивка зонда производится молотом определенного веса, свободно падающим с постоянной высоты; при этом фиксируется число ударов, необходимое для погружения зонда на определенную глубину (10 см), или глубина погружения зонда после 10 ударов.

Рис. 2.9. Схемы испытания целиков на сдвиг:

а – разрушение цилиндрического целика путем сдвига в обойме; б – выпирание трехгранного целика в горизонтальном направлении; в-обрушение трехгранного целика; 1 – целик; 2 – домкрат; 3 – упорные балки; 4 – каретка для перемещения головки домкрата.

Рис. 2.10. Испытание грунтов на сдвиг крыльчаткой (а) и ее конструкция (б).

Результаты наблюдений при динамическом зондировании представляют в виде ступенчатых графиков, наглядно показывающих, как меняется сопротивление грунта внедрению зонда. Если зондирование охватывает целые площади, то строят профили и карты.

С т а т и ч е с к о е з о н д и р о в а н и е отличается от динамического тем, что погружение зонда осуществляется не забивкой, а вдавливанием при помощи гидравлического домкрата. Развиваемое домкратом усилие измеряется манометром. Зонд также снабжен датчиком, позволяющим в любой момент определять величину сопротивления грунта внедрению конуса.

Страницы: 1 2 3

Смотрите также:

Технико-экономический расчет комплекта планировочных машин с ведущей машиной – бульдозером
Продолжительность работы комплекта машин Продолжительность работы комплекта машин следует принять по максимальному значению, сравнивая продолжительность работы бульдозеров с продо ...

Определение нормативных и расчетных нагрузок на раму
Уточняем нагрузку от собственного веса балки, причем, т.к. балка переменного сечения, то для расчета нагрузки примем усредненную высоту: м; кН/м; кН/м2. Постоянная нагрузка от соб ...

Жилище в стиле техно

Этот стиль, возникший в 80-е годы прошлого столетия, как некий ироничный ответ на радужные перспективы индустриализации и господства технического прогресса, провозглашенные в его начале.

Категории

Copyright © 2025 - All Rights Reserved - www.padavia.ru